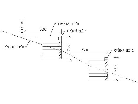
Řícmanice, oporné múry na vyrovnanie pozemku vo svahu

Pri výstavbe rodinného domu na svahovitom pozemku v obci Řícmanice boli v rámci terénnych úprav vybudované dve terasy. Tieto terasy sú podopreté opornými múrmi z vystuženej zeminy.

Cookies pomáhajú Vám i nám

My, GEOMAT s.r.o., oceníme Váš súhlas s použitím súborov cookies, aby sme Vám mohli spríjemniť nakupovanie na našom webe, uľahčiť Vám celý rad krokov pri nákupe a sami sa mohli stále zlepšovať. Kliknutím na tlačidlo „Áno, v poriadku“ súhlasíte s uložením cookies do Vášho prehliadača, vďaka ktorým využijete potenciál webu naplno. Podrobnosti nájdete na stránke „Informácie o cookies“.